贵阳分部广州分部
网站地图联系我们所长信箱建议留言内部网English中国科学院
 
 
首页概况简介800彩票概况研究队伍科研成果实验观测合作交流研究生教育学会学报图书馆党群工作创新文化科学传播信息公开
  科研成果
  您现在的位置:首页 > 科研成果 > 专利
专利名称: 一种非饱和土体定水头垂直渗透量测装置
专利名称_英文:
专利类别: 实用新型
申请号: 2014200947647
专利号: ZL201420094764.7
申请日期: 2014-03-04
发明人: 李志清,孙乔宝,王钰,周应新,李晶哲,王高,张汝文,钱坤,马赟,岳瑞强
其他发明人_英文:
国外申请日期:
国外申请方式:
国外申请方式_英文:
专利授权日期: 2014-08-27
缴费情况:
缴费情况_英文:
实施情况:
实施情况_英文:
专利权人:
其他备注_英文:
专利证书号:
专利摘要:
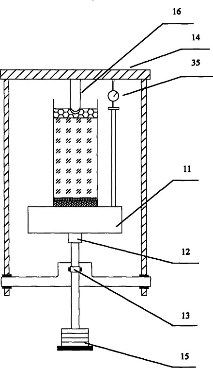
  一种非饱和土体定水头垂直渗透量测装置,其特征是该装置包括瓶塞(1),集水瓶(2),第一排气口(3),第二排气口(4),第三排气口(5),第一阀门(6),第二阀门(7),第三阀门(8),第四阀门(9),第五阀门(10),水箱(11),固定栓(12),转动轴(13),加压框架(14),砝码(15),加压轴(16),第一渗流管(17),第二渗流管(18),顶帽(19),渗流桶(20),透水石(21),下底座(22),第一取样口(23),第二取样口(24),第三取样口(25),第六阀门(26),第七阀门(27),第八阀门(28),第一监测口(29),第二监测口(30),第三监测口(31),第九阀门(32),第十阀门(33),第十一阀门(34),位移计(35),连通管(36)和试样(37)。该装置测量精度高,使用方便,满足样品加载条件下定水头垂直渗透控制要求,可以直接测定砂土、粉土、粘土等多孔介质的渗透特性参数。
专利摘要_英文:
国外授权日期:

地址:北京市朝阳区北土城西路19号 邮 编:100029 电话:010-82998001 传真:010-62010846
版权所有© 2009 800彩票 备案序号:京ICP备05029136号