
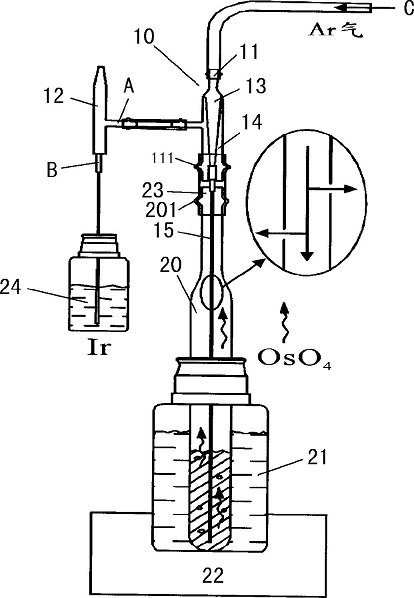
一种Carius管原位蒸馏Os在线测量方法,其步骤包括:Carius管法逆王水分解样品,所产生的OsO
4蒸汽在Ar气的载带下通过专用接口进入雾化器的载气口,雾化器的进液口引入Ir溶液,雾化器的喷嘴处形成含Os和Ir的混合气溶胶。本发明与公知技术不同之处,是用Ar气载带着Os蒸汽进入雾化器载气口后到达矩管,本发明从进液管引入的Ir标准溶液用于在线质量歧视校正,测量精度得到改善;Carius管溶样后,无需分离,可直接原位蒸馏并同时在线精确测定Os同位素比值及含量。本发明与原有在线测定方法相比不易灭火,与溶液进样测定方法相比记忆效应明显减小。