 |
|
| 专利名称: |
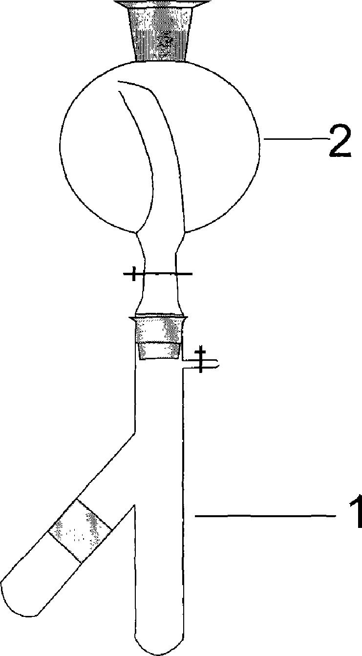
一种固-液/液-液反应收集气体装置 |
| 专利名称_英文: |
|
| 专利类别: |
发明专利 |
| 申请号: |
2010105370257 |
| 专利号: |
ZL201010537025.7 |
| 申请日期: |
2010-11-10 |
| 发明人: |
王志民, 李国敏, 张福松 |
| 其他发明人_英文: |
|
| 国外申请日期: |
|
| 国外申请方式: |
|
| 国外申请方式_英文: |
|
| 专利授权日期: |
2014-06-18 |
| 缴费情况: |
|
| 缴费情况_英文: |
|
| 实施情况: |
|
| 实施情况_英文: |
|
| 专利权人: |
|
| 其他备注_英文: |
|
| 专利证书号: |
|
| 专利摘要: |
一种固-液/液-液反应收集气体装置属于测试分析技术领域,尤其涉及一种固体和液体或者液体与液体反应产生气体收集气体的简便装置,可用于铵态氮同位素组成测试的前处理过程及相关固体和液体或者液体和液体反应收集气体的实验。本发明由反应装置和气体收集装置通过标准磨口连接组成。其中的反应装置由固定支管和可拆卸支管采用标准磨口连接组成。本发明不仅能有效消除空气对水中铵态氮同位素组成测试结果精度以及其它相关实验结果的影响,而且连接部件少、小巧灵活和安装简便,不需要建立复杂的真空管线系统,克服了常规的二支管不易装入反应试剂的不足。
|
| 专利摘要_英文: |
|
| 国外授权日期: |
|
|
 |
|