
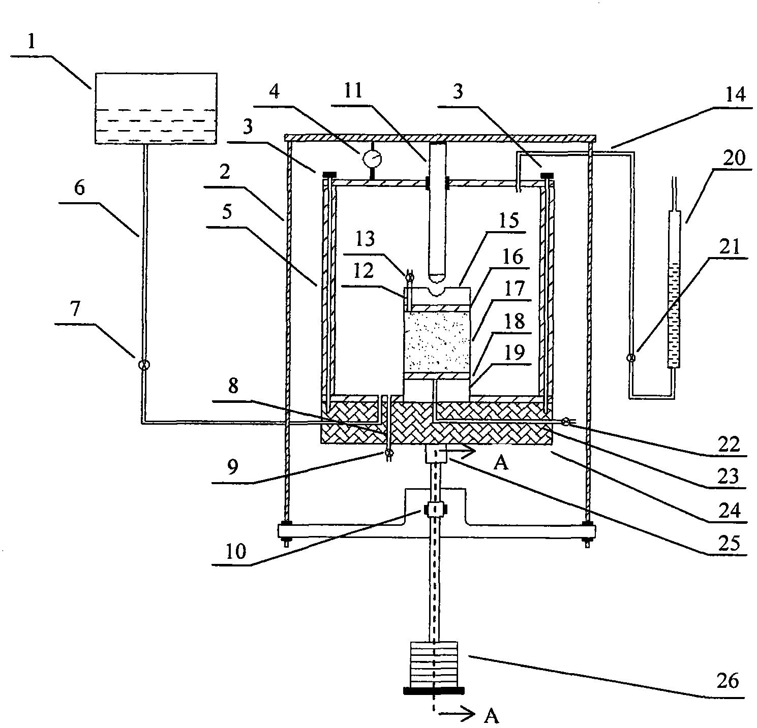
一种饱和非饱和岩土体单轴压缩蠕变试验方法,其特征在于利用一种装置进行岩土体的单轴压缩蠕变的测试,该装置主要包括水箱(1),加压框架(2),千分表(4),压力室(5),进水管(6),排水管(8),加压轴(11),上排水管(12),导水管(14),顶帽(15),上透水石(16),下透水石(18),底座(19),量水管(20),下排水管(23),压力室底座(24),固定栓(25),砝码(26),加压杠杆(30)等。该仪器制造简单,测量精度高,可以直接测定各种软岩、硬土在饱和或非饱和条件下的长期蠕变抗压强度与变形参数。可用于土木工程中遇到的各种软岩、硬土的室内或现场测试。测试方法主要分为安装试样、充水准备与试样加载三步。 |