岩体工程如边坡隧道在地震等动态荷载作用下的失稳破坏常常与岩体结构面剪切强度退化和失效有关,因此研究岩体结构面在动力条件下的剪切强度特性具有十分重要的意义,是岩体工程地质力学的基本科学问题之一。
岩体结构面动力剪切强度特性及变形强度特性实验研究是认识岩体工程动力演化过程的重要途径。但是目前由于室内试验条件模拟的局限性,无法在室内模拟岩体在实际工程中的受力情况,因此,如何提供一个试验系统,能够模拟岩体结构面在不同受力条件下的剪切性能是该领域技术人员亟待解决的技术问题。在上述背景下,中科院800彩票工程地质与水资源环境研究室祁生文研究员等发明了一种用于岩体结构面性能测试的试验系统及试验方法,并于近期获得国家专利授权(发明名称:一种用于岩体结构面性能测试的试验系统及试验方法;发明人:祁生文、郑博文、伍法权、黄晓林、詹志发、邹宇;专利号:ZL 2014 1 0078860.7)。
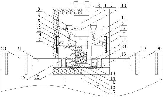
该发明公开了一种用于岩体结构面性能测试的试验系统及试验方法,包括设有加载框架和基座的主框架,竖向加载装置、剪切盒、水平加载装置、实时控制试验加载过程的液压控制装置和数字控制装置;竖向加载装置包括圆柱形液压伺服油缸和高强度弹簧,液压伺服油缸固定部通过固定垫板和螺栓连接方式固定于加载框架,动作部通过U形压力板连接剪切盒;U形压力板上部安装高强度弹簧,并可拆卸连接于刚性定位板和U形压力板之间。水平加载装置包括两个施加动态剪切载荷于剪切盒的液压伺服作动器;该岩体结构面性能测试的试验系统能够实现岩体结构面定法向应力和定法向刚度条件下的剪切过程,从而获得岩体结构面在动态剪切作用下的响应规律(图1)。综述,利用该试验系统能够精确的测定不同法向应力、不同法向刚度、不同剪切速率、不同剪切频率下的岩体结构面剪切强度。基于该专利,一款大型岩体结构面性能测试系统已经研制成功并投入应用(图2)。

图1

图2